我院成功实施全市首例神经内镜辅助下分隔型慢性硬膜下血肿清除术

近日
我院神经外科团队
成功完成本市首例
神经内镜辅助下
分隔型慢性硬膜下血肿清除术
这一技术的突破
为高龄复杂硬膜下血肿患者
提供了更安全、更高效的治疗选择
标志着我市神经外科
微创诊疗水平迈上新台阶

01

八旬老人危情逆转:从失语瘫痪到清醒对话
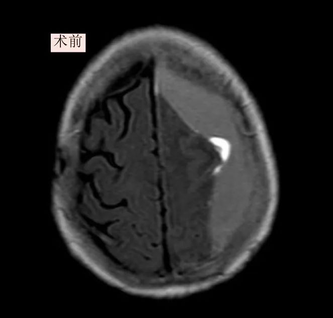
患者为85岁高龄女性,因"突发意识模糊、右侧肢体无力一周"入院。影像检查显示其左额颞顶存在慢性硬膜下血肿并伴有多层包膜分隔,血肿体积巨大压迫脑组织导致嗜睡、失语及右侧肢体肌力骤降至2级(正常为5级)。传统钻孔引流术难以彻底清除此类复杂的分隔血肿,而开颅手术对高龄患者风险极高。我院神经外科医护团队经过综合分析病情,并与患者家属充分沟通后,最终决定采用神经内镜微创技术实施精准干预。

02

"钥匙孔"手术显奇效:内镜直击病灶

术中,神经外科专家团队的李越主任医师主刀、陈思医师协同作战,在患者头部通过直径2厘米的微小骨洞,将神经内镜置入。在高清成像系统下,血肿腔内纵横交错的纤维分隔与黏稠积血展露无遗。他们凭借着精湛技艺,运用精细器械逐一离断分隔膜,各腔室血肿被彻底清除并精准止血。

手术历时90分钟,出血量不足30毫升。术后患者即刻恢复意识,可流畅对话,右侧肢体肌力显著提升至4级,次日即能自主进食并下床活动。

此次创新术式的成功实施
不仅填补了我市该领域的技术空白
更为今后复杂的慢性硬膜下血肿患者
带来了更优的治疗方案。
(图/文 陈思)
专家简介

END
终审:平台超管



用户登录
还没有账号?
立即注册